藏书网
芒果马桶分不清的文章
微博之夜又一幅世界名画:《沈腾老眼昏花的闹,马丽端庄优雅的笑》[笑cry][笑c
娱乐
2025-01-12 14:36
陈都灵:咦!帽子怎么尖尖的?可可爱爱按按脑袋🐰[你好]
娱乐
2025-01-12 13:36
网友:我能读懂的英语能是什么好英语[允悲][允悲]
2025-01-12 13:36
《穿了只猫在身上》《裙子裤子一起穿》《扇子好大》疑似连夜翻遍新华字典[笑cry]
娱乐
2025-01-12 12:36
又到期末了,发现老师们的怨气又冲出屏幕了[笑cry]
2025-01-12 11:36
何猷君为奚梦瑶无人机庆生 浪漫的小金土豆含金量还在上升[苦涩]网友偶遇何猷君在
2025-01-12 10:37
虞书欣又当站姐了 今天看到最感动的一张图,欣欣记录别人的同时,她也被记录着,我愿
娱乐
2025-01-12 00:36
米卡:礼物没到,但认真盖房子🥺
娱乐
2025-01-11 23:36
微博之夜互送的礼物完整版,有你特别想要的礼物吗
娱乐
2025-01-11 23:36
突然发现周洁琼的油画造型好适合她啊,又古典又大方[羞嗒嗒]
娱乐
2025-01-11 22:36
恭迎熹妃回宫 谁懂看到《甄嬛传》主创一起上台的感动!!这么多人的心血创造了这部作
娱乐
2025-01-11 21:36
樊振东一张截图霸凌全世界,帅的太超过啊小胖!
体育
2025-01-11 20:36
[哆啦A梦吃惊]杨紫和熊出没这缘分!!剧粉做了杨紫的表情包,微博之夜杨紫就水灵灵
2025-01-11 19:36
果然很符合黄子韬的风格,抽中的🚗先巡城再给人送过去[二哈]
汽车
2025-01-11 18:36
林允自嘲撞衫开花蜡烛真的有点好笑,但是这么鲜艳的红绿配色都hold住了!!林允的
娱乐
2025-01-11 18:36
祝绪丹 玛丽猫 祝绪丹内场碎片,好可爱的微醺小猫🐱🥰
娱乐
2025-01-11 15:35
文科生的倔强:必须写的满满当当[允悲]
2025-01-11 14:36
祝绪丹灵魂画手 谁不夸我们祝祝画出了每套礼服的精髓,你就说像不像,别管颜色别管构
娱乐
2025-01-11 14:36
让一让,微博之夜真的顶楼来了,我们藕饼出发图🈶️!!
社会
2025-01-11 13:36
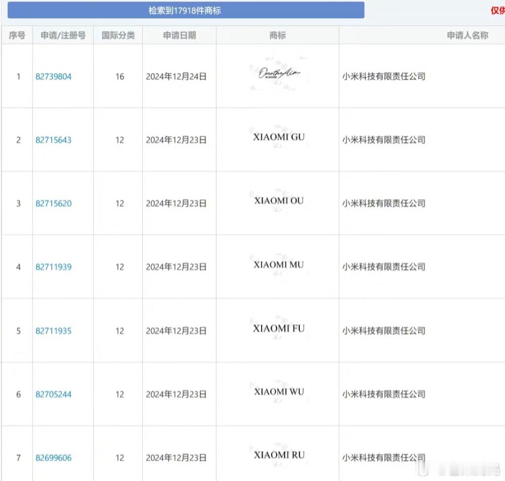
原来小米除了su系列,还注册了GU、MU、FU一堆,是要把所有字母都抢占吗?[笑
科技
2025-01-11 13:36
第一页
下一页
芒果马桶分不清
感谢大家的关注
热门分类
推荐
热榜
军事
NBA
体育
社会
明星八卦
娱乐
财经
科技
汽车
历史
国际
游戏
动漫
公益
搞笑
商业
互联网
数码
国际足球
房产
家居
时尚
科学探索
职场
育儿
股票
教育
影视
情感
热点
中国军情
武器
中国南海
中国足球
亚洲杯
科比
综合体育
CBA
投资
大咖秀
外汇
创业
风口
SUV
豪车
概念车
优惠
新能源
美国
欧洲
朝日韩
俄罗斯
孕期
街拍
婚姻
正能量