丰田的电动汽车“手动换挡模拟器”专利,你喜欢吗? 据了解,这项技术的细节似乎与丰田几年前公开的雷克萨斯UX纯电EV上的装置高度雷同。
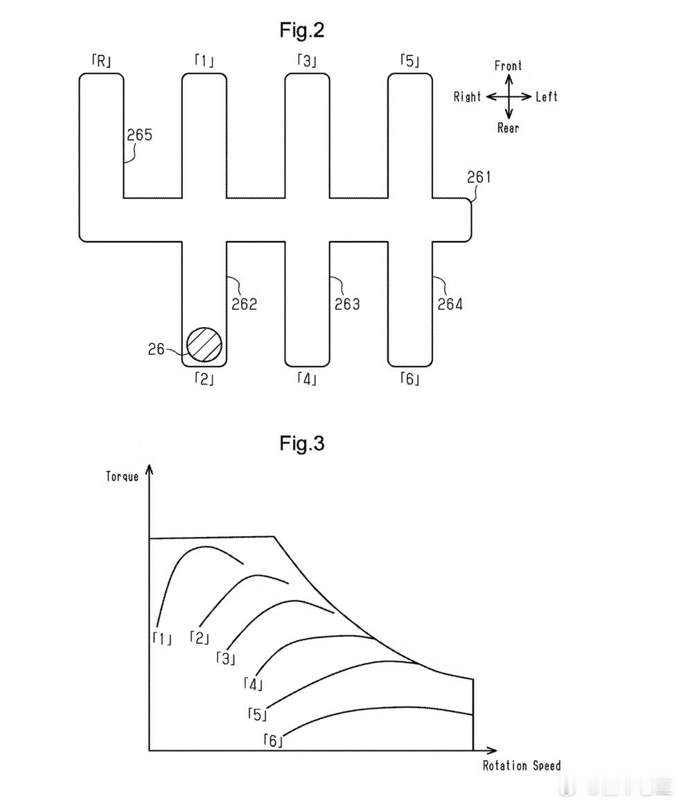
专利细节图显示,Fig.3 横轴:Rotation Speed,纵轴:Torque 这个曲线,是电机边界特性,低速恒扭矩,高速恒功率,这个之前我们分享过类似的,下面几条曲线,是专利解释的“档位” 本体,丰田对此的解释为——用“驾驶者可理解的挡位语言”,去控制一个连续、无限可变的电机系统。
不理解,但尊重....毕竟丰田称之为——电车驾驶哲学分化。 你觉得有这个必要吗?蔚来汽车车评精选汽场全开

