宝马一项关于螺丝设计的专利在海外引发关注。该专利涉及一种全新的螺丝头结构,其造型

史涣看汽车啊 2025-12-30 12:04:29

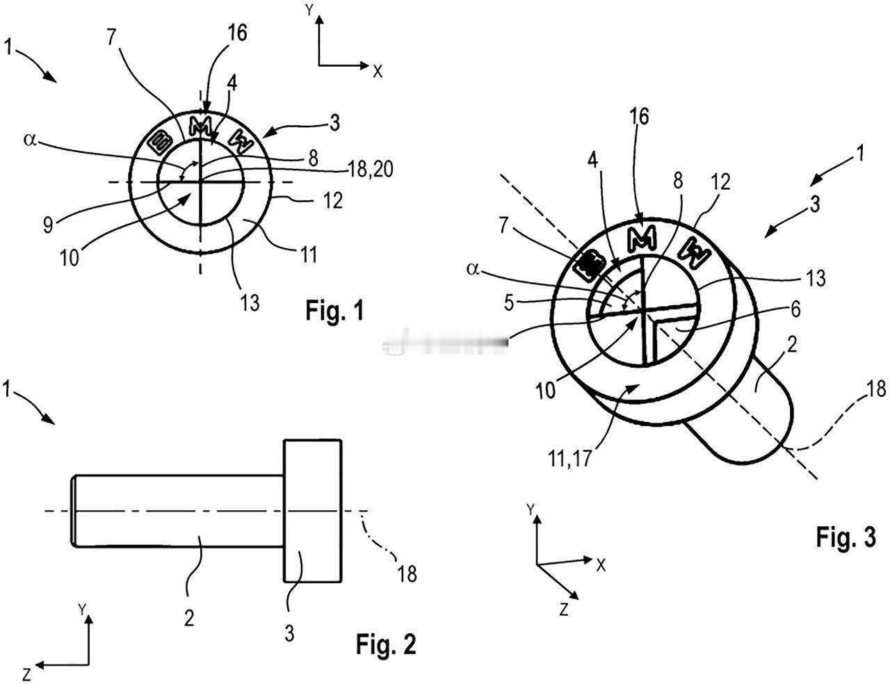
宝马一项关于螺丝设计的专利在海外引发关注。该专利涉及一种全新的螺丝头结构,其造型采用宝马标志性的圆形徽标设计,需要通过品牌专属工具才能进行拆装,常规工具无法施力。

0 阅读:1
史涣看汽车啊

史涣看汽车啊

感谢大家的关注