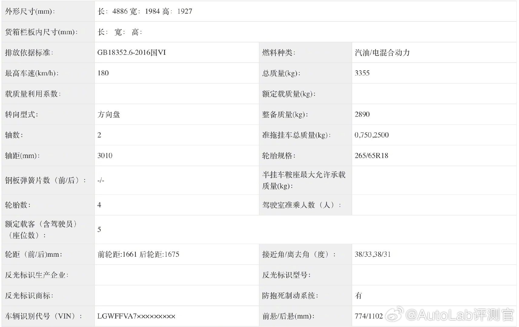
坦克300Hi4-Z申报图来了,上了激光雷达,上了最高59.6度的大电池,带功率分流的解耦四驱结构Hi4-Z日常城市代步要合适的多。
然后最大的变化是前桥前移了不少,整车侧面姿态好看很多,另外4886mm的车长,轴距竟然做到了3010mm,坦克全系最长轴距,要知道坦克700才3000mm的轴距,坦克300 Hi4-Z价格恐怕不太好定吧




坦克300Hi4-Z申报图来了,上了激光雷达,上了最高59.6度的大电池,带功率分流的解耦四驱结构Hi4-Z日常城市代步要合适的多。
然后最大的变化是前桥前移了不少,整车侧面姿态好看很多,另外4886mm的车长,轴距竟然做到了3010mm,坦克全系最长轴距,要知道坦克700才3000mm的轴距,坦克300 Hi4-Z价格恐怕不太好定吧




作者最新文章
热门分类
汽车TOP
汽车最新文章