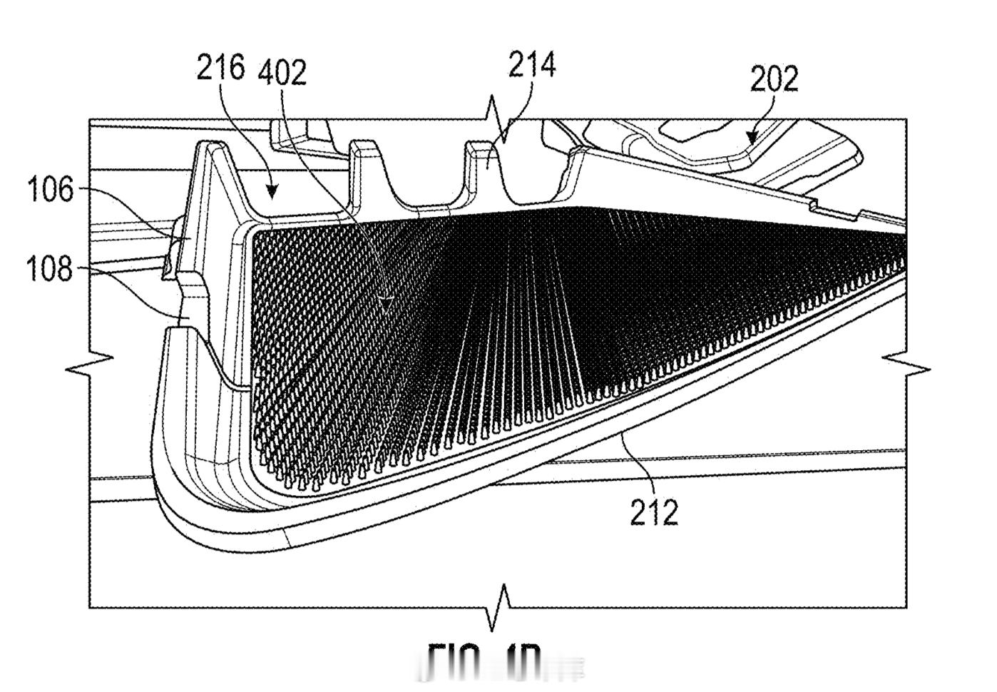
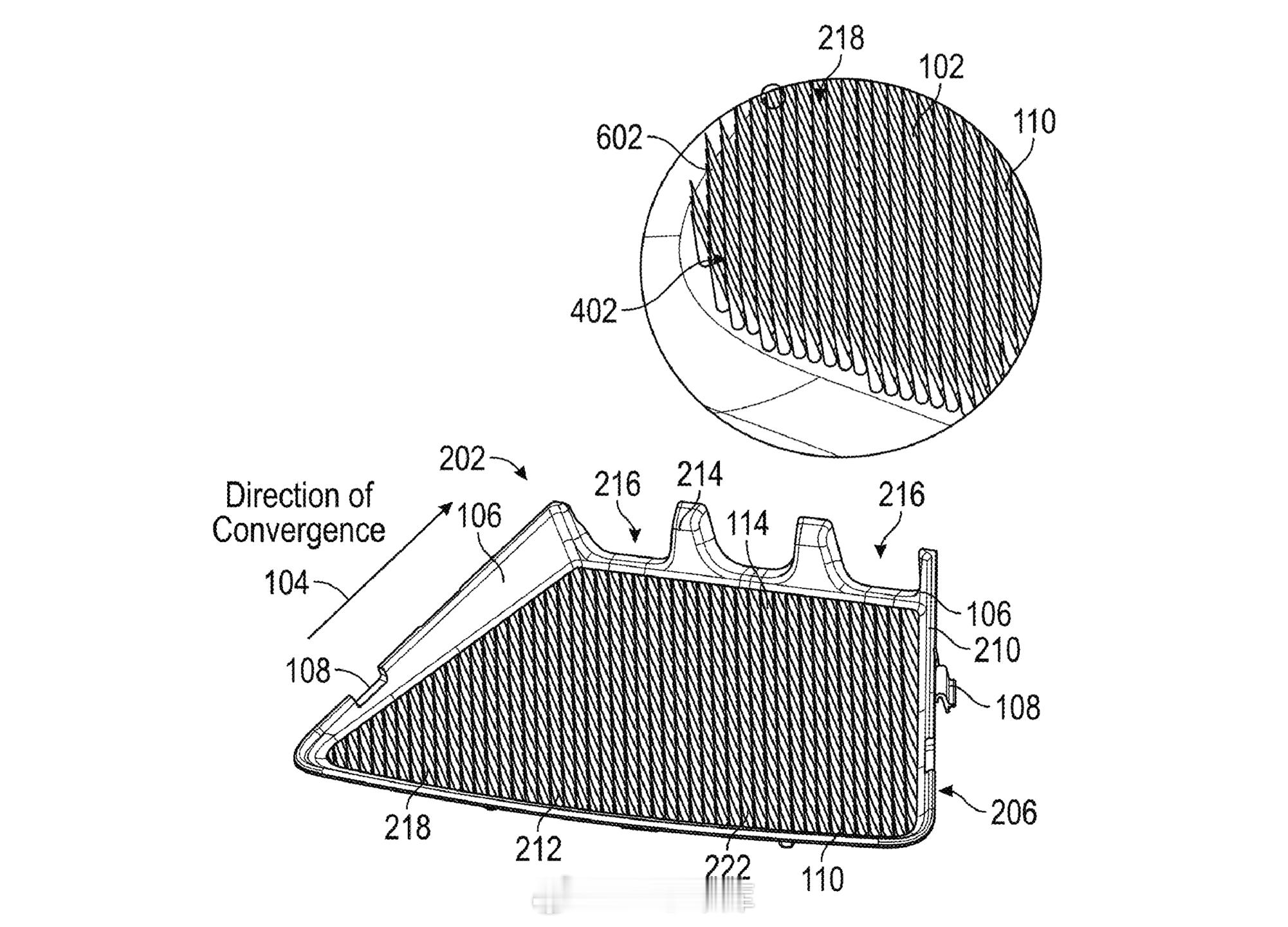
特斯拉的专利显示他们开发了一种可以主动控制前向视觉摄像头眩光问题的技术这个外壳利用微圆锥结构有效吸收光线,并配备电机机构可以根据太阳位置动态调整角度,从而减少眩光对自动驾驶系统的影响。原来这个地方所有品牌都是用的差不多的有很好的抗反射的黑色微绒材质。之前 FSD 经过一些美国网友测试在大逆光场景下的可能会出现退出的情况,毕竟眩光是物理原因导致的,FSD 从后端优化总归是有限度的。特斯拉的团队这次是从软件角度去定义硬件了,而且这种技术在日常光线下几乎不会有正面影响,只是为了极端场景所做的工程优化,某种程度上跟国内厂商采用激光雷达的目的是一致的,但是针对的是不同的极端场景。新能源汽车42how



