藏书网
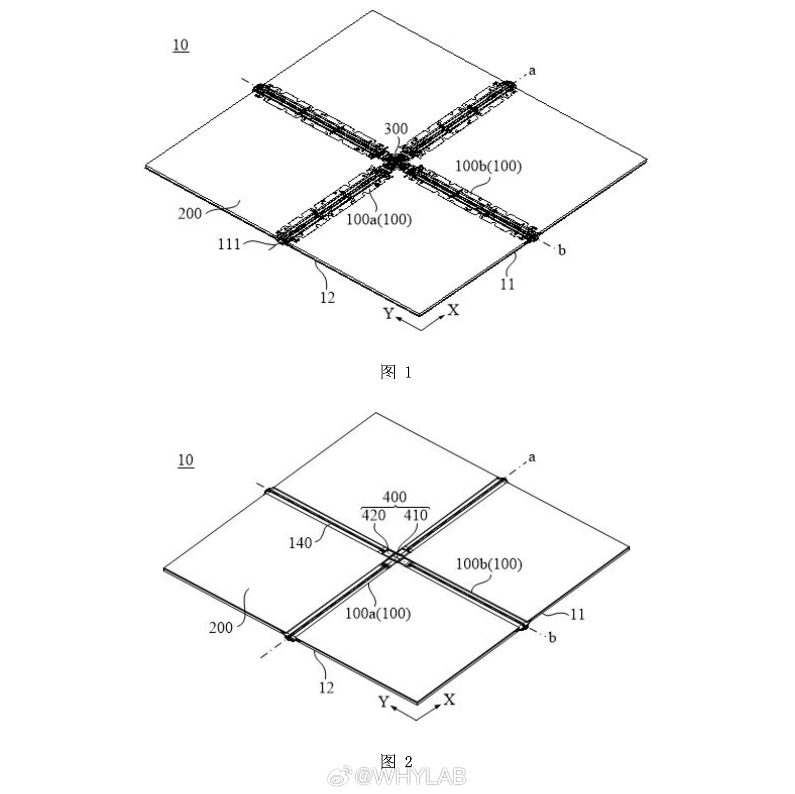
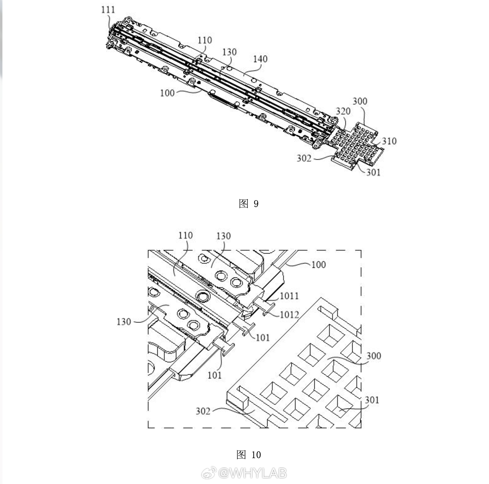
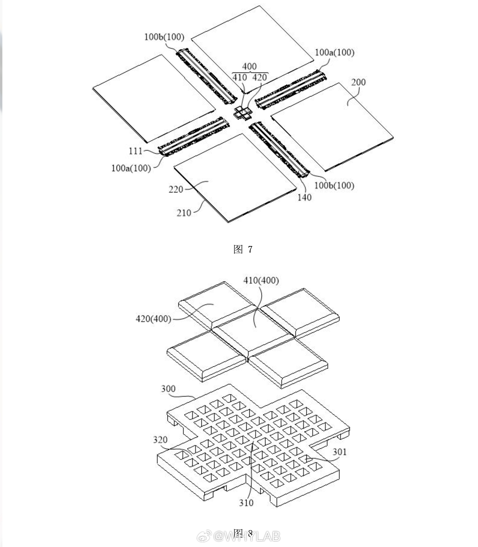
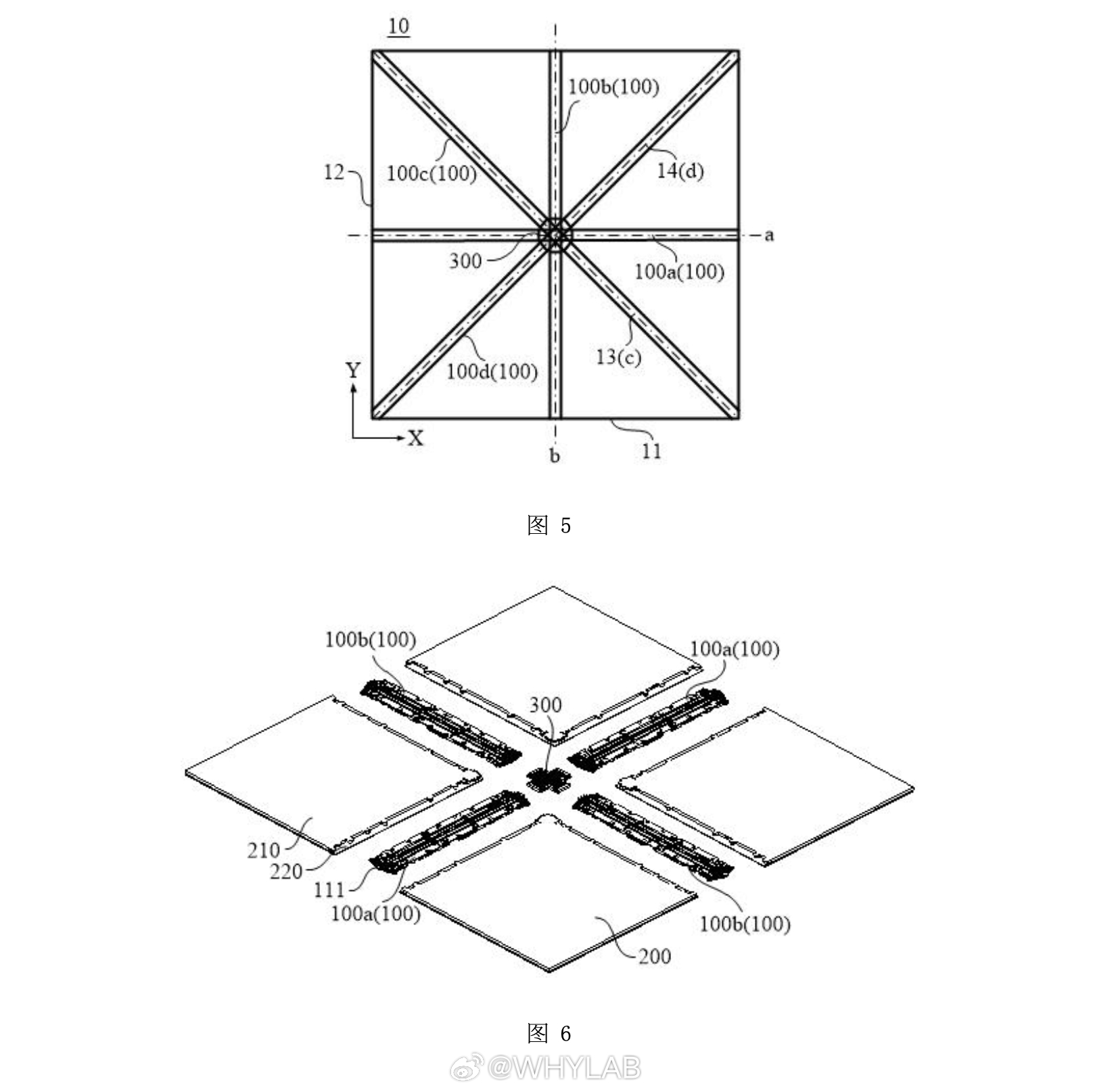
荣耀四折叠屏手机专利公示,这是要玩成「折纸」了
消费实验室
2026-03-05 17:51:01
荣耀四折叠屏手机专利公示,这是要玩成「折纸」了
0
阅读:1
消费实验室
感谢大家的关注
作者最新文章
1
Nothing Phone (4a) Pro 正式发布,8+128GB 售价 4
2
Nothing Phone (4a) 正式发布,8+128GB 售价 349 欧
3
比亚迪要在全国范围内建设闪充站了,目标是2026 年年底建成闪充站 20000
4
比亚迪第二代刀片电池安全性能也不错,通过了远超新国标的最高 1500J 底部撞击
5
太逆天了,比亚迪发布第二代刀片电池,搭配比亚迪兆瓦快充,5 分钟可以从 10%
6
华为 MateBook Neo 已经在路上了,最大 24GB+1TB 版本,预计
7
荣耀四折叠屏手机专利公示,这是要玩成「折纸」了
8
胡润发布 2026全球富豪榜,马斯克蝉联世界首富,财富 5.5 万亿,遥遥领先,
9
建议春节9天假代表收到很多祝贺就得是这种实用的建议,谁是真专家,谁是假专家,群众
10
阿里Qwen负责人宣布离开 阿里已批准林俊旸离职阿里刚批准离职,谷歌 DeepM
热门分类
推荐
热榜
军事
NBA
体育
社会
明星八卦
娱乐
财经
科技
汽车
历史
国际
游戏
动漫
公益
搞笑
商业
互联网
数码
国际足球
房产
家居
时尚
科学探索
职场
育儿
股票
教育
影视
情感
热点
中国军情
武器
中国南海
中国足球
亚洲杯
科比
综合体育
CBA
投资
大咖秀
外汇
创业
风口
SUV
豪车
概念车
优惠
新能源
美国
欧洲
朝日韩
俄罗斯
孕期
街拍
婚姻
正能量
科技
TOP
1
真是没有对比就没有伤害iPhone17系列2292万+华为mate80系列3
2
这个春节,AI大模型一共砸进去了80亿元左右!其中,阿里旗下的千问提供砸了30亿
3
在杭州,提起互联网大厂,大家第一反应还是阿里、网易。但最近一份《杭州互联网&科技
4
听我一句劝!荣耀的中高端旗舰不能乱选,小心选错悔断肠,这四款中择优选择更明智[灵
5
智能手机全面涨价才刚开始中低端性价比手机受影响最大,比如一款手机卖2000厂商赚
6
无痕钛合金铰链,自修复记忆玻璃大家比较关心的折叠屏的折痕问题,看来以后不成问题了
7
中国手机行业将迎来全面涨价涨幅在300-1000的样子,大储存最高涨2000,这
8
智能手机全面涨价才刚开始其实也挺无奈的,本来现在经济条件大家也都懂,手机内存成本
9
vivoX300Ultra的影像有点顶了,双两亿镜头,先来看看硬件参数主摄是
10
这是新的至尊版吗?
科技
最新文章
1
#芯片以后可以不用铜和硅#IEDM (国际电子器件大会),被誉为半导体领域的“
2
英特尔董事会主席耶里明年股东大会后退休,新主席巴拉特博士5月13日接任。
3
科技无国界?这就是本世纪最大的笑话!OpenAI与美国国防部达成合作,引发美国网
4
这下傻眼了吧!荣耀WINRT竟然卖不过荣耀Power2,明明配置更强,为何会有
5
现在手机还没发,京东方自己都出来爆料了?未来要发布的几台手机,这几台屏幕顶,对屏
6
2026年3月3日,阿里正式宣布其桌面级智能体助手QoderWorker全面开
7
「猴子有枪」……
8
小米:我是徕卡vivo:我是蔡司OPPO:我是哈苏realme:我是理
9
苹果新品发布会iPadAirM411英寸128G4799256G529
10
一个个都说不买一个个都说60hziPhone17e还是发布了,4499起。