外观更硬派,动力升级/车身尺寸加大!新款坦克300Hi4-T/Hi4-Z申报图

李勇敢 2026-03-15 12:37:00

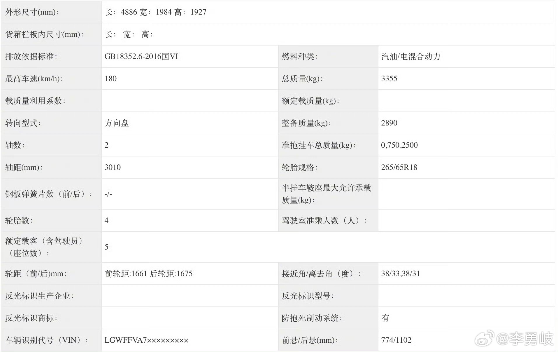
外观更硬派,动力升级/车身尺寸加大!新款坦克300 Hi4-T/Hi4-Z申报图来了日前,我们从工信部看到了新款坦克300 Hi4-T和坦克300 Hi4-Z的申报信息。相比现款车型长宽高 4750/1930/1903mm、轴距2750mm,新车尺寸升级到了4886/1984/1927mm、轴距达到了3010mm。从外观来看,该车呈现出长车头姿态,更具硬核气息。值得一提的是,新车配备了激光雷达,预计将强化智能辅助驾驶能力。动力上全面转向新能源化,提供Hi4-T和Hi4-Z两种动力,两款车型均搭载1998ml排量发动机(预估为 2.0T),最大功率185kW,匹配蜂巢能源三元锂电池。据了解,Hi4-T车型定位为硬派越野,采用非解耦、带大梁及机械四驱系统,具备出色的越野性能;而Hi4-Z则属于泛越野定位,其设计更注重适应多种地形,配备四驱系统和一把差速锁,越野能力虽不及传统硬派越野车,但远超一般城市SUV。坦克迷们期待吗?坦克300

0 阅读:7
李勇敢

李勇敢

感谢大家的关注